完美日记称“小粉钻”经推广已有知名度,法院:仍与在先商标近似
来源:财经网
12月4日上午,财经网产经由北京法院审判信息网获悉,完美日记在申请第37349007号“小粉钻”商标被国家知识产权局驳回后,再次被北京知识产权法院驳回诉讼请求。
根据这份在今年7月底作出的(2020)京73行初6546号判决书,完美日记母公司广州逸仙电子商务有限公司方面认为,诉争商标与第14727332号“粉钻4C”商标在整体外观、含义方面差别明显,即使共存于市场,也不会产生混淆误认,不构成近似商标。

图片来源:在淘宝搜索“小粉钻”词条弹出的搜索页面截图
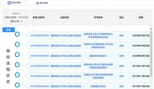
其次,引证商标已经因连续三年未使用被撤销,裁定书已经作出,希望法院能等待引证商标权利稳定后再作出本案裁判。
且诉争商标经过原告推广使用而拥有了较高的知名度和显著性,已经为相关公众所熟知,能够起到区分商品来源的作用,符合商标法规定,应当获准注册。


图片来源:中国商标网截图
法院经审理查明,诉争商标37349007由原告广州逸仙电商方面于2019年4月8日申请,指定使用商品包括第3类、类似群0302;0304;0307;0309:动物用化妆品; 去污剂; 研磨膏; 口香水。
引证商标14727332的申请人为上海瑾晖贸易有限公司。申请日期为2014年7月15日。专用权期限至2026年2月6日。核定使用商品包括第3类、类似群0302;0304;0307;0309:清洁制剂; 研磨材料; 牙膏; 动物用化妆品。
法院在判决书中谈到,本案的争议焦点为诉争商标是否违反《商标法》第三十条的规定。
《商标法》第三十条规定:“申请注册的商标,凡不符合本法有关规定或者同他人在同一种商品或者类似商品上已经注册的或者初步审定的商标相同或者近似的,由商标局驳回申请,不予公告。”
截至本案审理终结时,引证商标撤销决定书尚未生效,引证商标仍为有效商标,构成诉争商标申请注册的权利障碍。
关于商标近似方面,诉争商标与引证商标均为文字商标,诉争商标由汉字组合“小粉钻”构成;引证商标由汉字组合“粉钻”与数字字母组合“4C”构成。本案中,诉争商标与引证商标有两个汉字完全一致,且标识的其他部分不具有可作区分的显著性,两方商标在文字构成、整体外观、设计风格、含义等方面相近,相关公众施以一般注意力不易区分,诉争商标与引证商标应认定为近似商标。诉争商标与引证商标若共同使用在同一种或类似商品上,易造成相关公众混淆,从而对商品来源产生误认,已构成使用在同一种或类似商品上的近似商标。
原告所提交的证据不能证明诉争商标经过使用在指定的商品上已获得显著性,可与引证商标相区分。关于原告请求法院暂缓审理本案的主张,法院认为,本案为商标授权案件,主要是对被诉决定合法性的审查,且目前引证商标相关撤销裁定并未生效,目前引证商标处于合法有效状态,故对原告据此提出的暂缓审理申请,本院不予支持。故被告认定诉争商标违反了《商标法》第三十条之规定并无不当,本院予以支持。
法院最终驳回原告广州逸仙电子商务有限公司的诉讼请求。
不过,财经网产经在中国商标网查询发现,前述引证商标已在今年7月底进入排版送达公告阶段(关于撤销连续三年未使用商标的决定)。

图片来源:中国商标网截图