拼多多申请多多拼菜商标
来源:Techweb
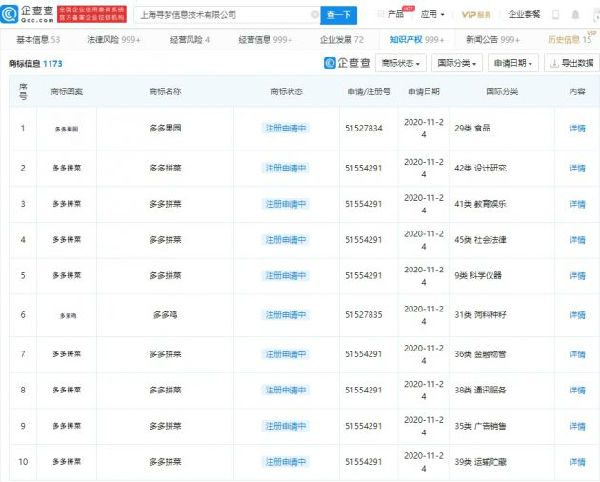
12月3日消息,企查查 App 显示,近日,拼多多关联公司上海寻梦信息技术有限公司新增 “多多拼菜”、“多多鸡”、“多多果园”等商标信息。
这些商标涉及的国际分类包含社会法律、办公用品、运输贮藏、教育娱乐等,目前商标状态为 “注册申请中”。

拼多多成立于 2015 年 9 月,是专注于 C2M 拼团购物的第三方社交电商平台。
今年早些时候,拼多多还申请了包括 “多多超市”、“小多超市”、“菜小买”、“多多买菜”在内的多个新商标。
此前,拼多多11月公布的 2020 年第三季度财报显示,在截至 2020 年 9 月 30 日的前 12 个月里,拼多多活跃买家数达 7.31 亿,较上一周期 5.36 亿活跃买家数增长 36%。